氣力輸送系統和氣力輸灰設備及工程設計
氣力輸送系統
當人們從自然界風力吹石卷塵和日常生活中常見的吮吸現象獲得啟示之后,就設想利用氣流在管道中來運送物料。
氣力輸送的對象從早期的谷物、面粉和信件迅速擴展到水泥、砂料、化工原料、粉煤灰、煤粉等物料,應用的范圍遍及糧食、港口、化工、冶金、電力、鑄造、食品、醫藥等領域。輸送方式從原始、簡單到如今完善、合理,從稀相懸浮輸送到濃相高濃度的栓流輸送,初步解決了氣力輸送的能耗高、管道磨損及物料破碎等問題。

氣力輸送系統的類型
一、吸送式氣力輸送系統
吸送式氣力輸送系統采用羅茨風機或真空泵作為氣源設備,取料系統部件多為吸嘴、誘導式接料器等,比較常見的工藝布置系統。氣源設備裝在系統的末端,當風機運轉后,整個系統形成負壓,由管道內外存在的壓力差空氣被吸入輸料管。與此同時物料和一部分空氣便同時被吸嘴吸入,并被輸送到分離器。在分離器中,物料與空氣分離。被分離出來的物料由分離器底部的旋轉式卸料器卸出,而未被分離出來的微細粉粒隨氣流進入除塵器中凈化,凈化后的空氣經系統中配置的消聲器排入大氣。

負壓抽吸系統的正負壓氣力輸送系統
1、系統組成
吸送式氣力輸送系統由以下幾個主要部分組成,其工作順序如圖。
根據用途要求不同,某些系統結構形式及其組成可能會有差別,但不管任何吸送式系統都應有上述幾個主要部分組成。
2、適應條件
吸送式氣力輸送系統適用于輸送流動性較好的粉粒狀物料。它可由一點或由多點向某一處集料,作業范圍廣。移動靈活方便,且輸送線路可任意選取,所以很適宜于場地狹窄的地方輸送物料。例如,用于卸車、卸船和清艙作業等。若安裝在廠房受限制的場合,不但極為方便,而且可使設備配置易于達到合理化。
由于吸送式氣力輸送系統在吸送過程中,輸送氣體在沿程不會逸入大氣,所以也適宜在廠房內輸送有毒的或易污染環境的粉粒狀物料,尤其適宜用于供料點要求避免揚起灰塵的場合。
吸送式系統可以連續供料和連續輸送。
輸送氣體在輸送物料之后才經氣源機械排入大氣,因此,物料不易混入水分或機油等雜質,這一特點適宜于輸送食品、藥品等要求保持衛生的物料。而且物料在輸送過程中其所含水分也容易蒸發。
吸送式系統能適應各種不同船型的船艙卸載。

負壓抽吸系統卸載水泥
3、優點:
1)平均生產率高,吸送式卸船機生產能力比抓斗式卸船機和埋刮板式卸船機高約;因能自行集料,所需操作工人數少,且能大大降低勞動強度。
2)構造簡單緊湊,安裝方便,重量輕,造價低,且能減小安裝場地 (碼頭) 負載。
3)操作靈活簡單,使用方便,管理維修費用低。
4)運動部件少,工作可靠,容易實現自動化。
5)吸送糧食類物料時,輸送過程能同時進行通風除塵,蒸發部分水分,減小糧食霉變, 提高產品質量。
6)露天作業時,不受氣候和周圍環境條件的影響和限制。
7)用于港口卸船時,還具有以下優點:
①能徹底清艙。
②不受潮汐及水位變化的影響。
③由于吸料管可接上撓性管,即使遇到風浪發生船舶搖擺時,也不會碰壞艙底板和吸料 管,這個優點對于內河小型木駁船尤為突出。④吸料過程艙內不會揚起灰塵,可大大改善工作環境。
⑤物料在出艙輸送過程處于密封狀態,無撒落物料或混入雜物被污染之憂慮。
⑥能均勻卸載,可防止船舶受浮力不勻的影響。
輸料管內能保持清潔,容易實現一機多用,即輸送一種物料之后,接著用以輸送其他物料。

吸送式氣力輸送系統
1)吸嘴 2)輸料管 3)袋濾器 4)旋轉式卸料器 5)分離器 6)過濾器 7)氣源
4、缺點和限制
吸送式氣力輸送系統也存在一些缺點和限制。引人注目的缺點之一,是單位能耗比機械式輸送高,其能耗系數通常0.021-0.038范圍。表列出氣力輸送系統單位能耗與機械式輸送機單位能耗之比較。
其次,真空度與輸送距離有一定限制。輸送距離越長,系統所需真空度越高。隨著真空度加高,氣體密度逐漸減小,氣體輸送物料的能力也將減弱。因此,實用真空度通常不宜高于6,否則,輸送能力顯著降低,且管道也容易發生堵塞。此外,輸送物料的塊度不能過大,粘性不能太高,通常塊度尺寸應小于1/2管徑。吸送式氣力輸送系統雖存在上述單位能耗高的缺點,但由于其他費用低,因而其總成本通常低于其他輸送方式。
總操作成本是機械輸送系統經濟性的集中體現,采用何種裝卸系統方式,應通過全面經濟技術論證和成本比較后客觀地決定。據分析,氣力卸船系統用于輸送貴重物料時,其裝卸成本低于使用其他系統機械。
二、壓送式氣力輸送系統
壓送式氣力輸送系統有低壓壓送式氣力輸送系統、高壓壓送式氣力輸送系統、流態化壓送式氣力輸送系統及脈沖栓流式氣力輸送系統等各種類型。不論是上述何種類型的系統,其氣源設備均設在系統的進料端。由于氣源設在系統的前端,物料便不能自由流暢地進入輸料管,而必須采用密封的供料系統。為此,這種系統系統的供料部件較吸送式復雜。當被輸送的物料被壓送到達輸送目的地后,物料在分離器或貯倉中分離并通過卸料系統卸出,壓送的空氣則經除塵器凈化后排入大氣。

氣力輸灰系統倉泵
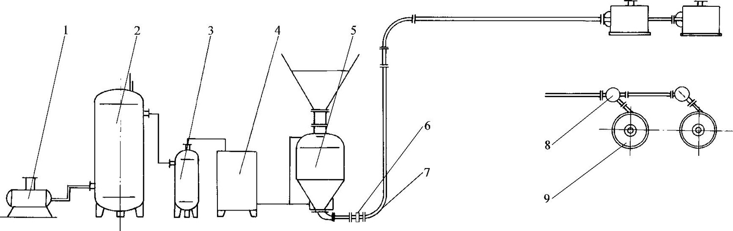
壓送式氣力輸送系統是利用壓縮空氣來吹送物料,輸料管的壓力高于大氣壓力。根據管道內壓力高于大氣壓力的程度又分高壓壓送及低壓壓送兩種。
1)空壓機
2)貯氣罐
3)氣水分離器
4)閥箱
5)發送罐
6)增壓器
7)耐磨彎頭(制造廠家推薦:建湖縣遠達特種材料有限公司)
8)岔道9
9)卸料器

氣力輸灰系統耐磨彎頭
1)供料系統 2)空氣進口 3)排氣口 4)止回閥 5)殼體 6)螺旋 7)流化床

氣力輸灰系統耐磨彎頭

低壓壓送式氣力輸送系統
1)貯料倉 2)旋轉卸料器 3)輸料管 4)排放袋濾器 5)噴射給料器 6)氣源 7)分離器
三、混合式氣力輸送系統
將吸送式氣力輸送系統與壓力式氣力輸送系統相結合稱之為混合式氣力輸送系統。例如,物料從吸嘴進入輸料管吸送到分離器,經下部的卸料器卸出(它又起著壓送部分的供料器作用)并送入壓送輸料管,從而分離器出來的空氣經風管進入風機,經壓縮后進入輸料管將物料壓送到卸料地點。物料經卸料器排出,而空氣則經除塵凈化后經風管消聲器排入大氣中。
混合式氣力輸送系統兼有吸送式和壓送式系統的特點。可以從數處吸料壓送到較遠之處,但它的結構較復雜,氣源設備的工作條件較差,易造成風機葉片和殼體的磨損。



